A napokban mutattunk egy appot Apple Watch-re, aminek segítségével megnyithatod az aktuális pozíciódat környező érdekesebb épületek, alkotások, műemlékek Wikipédia oldalát. Ezzel többek közt remekül lehet felvágózni a haverok előtt a lopva szerzett lexikális tudással.
Az Apple Glass, ha egyszer elkészül, akkor akár már out-of-the-box képes lehet ugyanerre, csak egy három fokkal elegánsabban, és tíz fokkal sci-fisebben. Az Egyesült Államok Szabadalmi és Védjegy Hivatala ugyanis a napokban közzétett egy olyan Apple szabadalmat, amit ha megvalósít a vállalat, akkor a szemüvegen keresztül minden érdekes szemed elé táruló objektumról tudhatod majd, hogy micsoda.

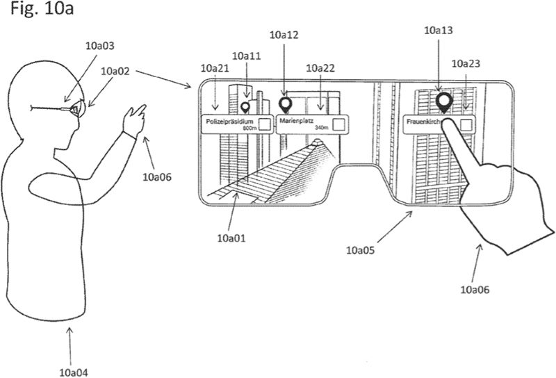
A kérelemben különböző módokat írtak le arra, hogy egy „fejre rögzítható kijelző“ (az Apple Glass név természetesen nem hangzik el egyszer sem, de nem nehéz kitalálni, hogy erről lehet szó) miként jeleníthetne meg információkat a látótérben található POI-król (Points Of Interest, azaz hasznos vagy érdekes helyek). Ez alapján kis nyilak jelennének meg az adott pontokon, mindig amerre nézünk.
A felhasználó úgy szerezhetne több információt ezekről, hogy a látótérbe helyezi kezét, és az ujjával egy kattintó gesztust hajt végre. A szemüveg kifelé figyelő kamerája (aminek gondolom nagyon jól kell tudnia érzékelni a mélységet) ezt a gesztus tudná feldolgozni, és ennek megfelelően jelenítene meg több vagy kevesebb információt. Számomra mondjuk kérdés, hogy meg lehet-e ezt olyan módon is oldani, hogy ne legyen zavaró a felhasználó számára a rengeteg extra információ.

Az Apple Glass-szal kapcsolatban jelenleg azt lehet tudni, legfőképpen Mark Gurman forrásai alapján, hogy 2021-re várható legkorábban, hogy külön operációs rendszert fog kapni, de az iPhone-nal kell majd kommunikálnia, és hogy nem virtuális, hanem kiterjesztett valóság szemüveg lesz.
Kiváncsian várjuk!
Forrás: MacRumors



